Монтаж и проектирование водоснабжения и канализации
Системы горячего и холодного водоснабжения подают воду из наружных сетей к потребителям в здании. Границей между наружной и внутренней сетью является водомерный узел или водосчетчик. Наша компания выполняет внутренние сети водоснабжения и водоотведения.
Система холодного водоснабжения подает воду с температурой до 30 градусов, система горячего водоснабжения 50-75 градусов.
Системы делятся на:
- Хозяйственно-питьевое водоснабжение подает воду для питья, приготовления пищи и проведения санитарно-гигиенических процедур (умывания, мойки, стирки, промывки унитазов, уборки помещения и т.д.). В этой системе вода питьевого качества. Не все знают, что вода в водопроводе и канализации (смыв унитаза) одна и та же.
- Противопожарный водопровод
- Производственное водоснабжение
- Поливочное водоснабжение
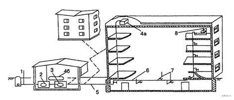
Система холодного водоснабжения состоит из ввода, водомерного узла, установки для повышения давления, запасных и регулирующих емкостей, внутренней водопроводной сети, трубопроводной и водоразборной арматуры.
Система горячего водоснабжения дополнительно имеет устройство для нагрева воды. В зданиях источником горячей воды является вода для отопления, которая через промежуточный теплообменник греет воду из системы холодного водоснабжения, делая ее водой для горячего водоснабжения.
Основной систем водоснабжения и водоотведения являются трудопроводы. Сейчас, когда цена стальных труб и изделий растет ежеквартально, трубопроводы и их монтаж занимают очень значительную часть сметы по водопроводу и канализации.
![]() |
|
Система холодного водоснабжения здания: 1 - ввод; 2 - водомерный узел; 3 - установка для повышения давления; 4 - запасные и регулирующие емкости (4а - водонапорный бак; 4б - расширительный бак); 5 - квартальная сеть; 6 - внутренняя сеть; 7 - трубопроводная арматура; 8 - водоразборная арматура |
Кстати:
Температура воды в системе холодного водоснабжения определяется погодой и расположением источника воды. Источниками холодного и горячего водоснабжения служат подземные воды (безнапорные и артезианские), а также поверхностные водоемы (реки, озера, водохранилища).
Обращаем внимание, что вода в системе холодного и горячего водоснабжения одна и та же, просто часть холодной питьевой воды в каждом доме подогревают и подают в систему горячего водоснабжения.
Если вода в систему холодного водоснабжения поступает из поверхностных водоемов, то в летнее время температура воды в кране может доходить до 25 и более градусов. Распространенное мнение, что вода греется в трубах по пути от источника к потребителю, является заблуждением - основную роль играет температура воды в поверхностных водоемах.
Для Москвы источниками водоснабжения является Москва-река, Волга, 13 водохранилищ (Можайское, Рузское, Озернинское, Истринское, Иваньковское, Икшинское, Пестовское, Пяловское, Клязьменское, Учинское. Вазузское, Яузское, Верхне-Рузское).
От водопроводных станций по магистральным трубопроводам вода поступает в городскую распределительную сеть, общей протяженностью около 10 тыс. км.
Средний диаметр труб распределительной водопроводной сети города составляет 300 мм, магистралей - 1000 мм. Для надежного обеспечения города питьевой водой в разных районах построены и функционируют 8 регулирующих узлов. Водопроводные узлы служат для поддержания необходимых напоров в водопроводной сети города и для снятия пиковых расходов воды в часы максимального водопотребления.
Каждый узел имеет в своем составе насосные станции и резервуары для хранения питьевой воды. Емкость резервуарного парка водопроводных станций и регулирующих узлов позволяет хранить около 60 % суточной потребности воды городом.
Кроме регулирующих узлов в зонах действия водопроводных станций для поддержания необходимых напоров работают 6 бустерных насосных станций и свыше 500 повысительных насосов, расположенных в жилых домах. (Данные с сайта www.mosvodokanal.ru)
Внутренняя канализация
Системы водоснабжения и водоотведения тесно связаны между собой по расходу воды и другим параметрам.
В отличие от дачных домов и коттеджей системы ливневой и внутренней канализации зданий объединять запрещено.
Системы водопровода и канализации конструктивно существенно отличаются друг от друга.
![]() |
|
Схема канализации жилого дома (c сайта www.zdanija.ru) 1 - приемники сточных вод; 2 - отводные трубы; 3 - канализационный стояк; 4 - вытяжная вентиляционная труба; 5 - гидравлический затвор; в - выпуск; 7 - дворовая сеть; 8 - смотровой канализационный колодец; 9 - зазор в кладке фундамента на величину осадки здания; 10 - водосточная воронка; 11 - стояк внутреннего водостока. |
Сточные воды (из раковины, унитаза и т.п.) уходят во внутреннюю канализацию через гидравлический затвор. Он представляет собой U-образную трубу, заполненную водой. Гидравлический затвор не позволяет поступать газам из канализации в помещение.
Сифон обычно объединен с ревизией - отверстием со съемной крышкой для прочистки труб при засорах. Унитазы, раковины, ванные и т.п. подсоединяются к канализационным стоякам с помощью различных фасонных частей (отводов, колен, тройников, крестовин и т. д.).
Канализационные стояки системы внутренней канализации монтируются из раструбных труб (вставляются одна в другую), которые выполняют из чугуна, асбестоцемента или пластмасс.
Выше чердачного перекрытия канализационный стояк продолжается как вытяжная труба.
Отвод канализационных вод из стояка внутренней канализации за пределы здания (выпуск) выполняется из чугунных труб.
Ливневая канализация собирает погодную воду с больших площадей и отводит ее. Конструкция ливневой канализации предельно простая, она состоит из желобов и водостоков.
Автономная канализация
Автономная канализация - это канализация города в миниатюре. Автономная канализация позволяет собирать отходы, перерабатывать их до состояния, когда сточные воды можно без вреда отдать природе.
Принцип действия очистных сооружений для города или небольшой автономной канализации основан на бактериальном брожении в последовательно сообщающихся емкостях. Только для коттеджного поселка это септик, а для города - большие очистные сооружения. В очистных сооружениях города емкости существенно больше плавательных бассейнов, естественное брожение катализируется вагонами специальных добавок и химических реактивов.
Септик - это просто бак, разделенный на несколько последовательных сообщающихся между собой отсеков.
Стоимость вы можете рассчитать на нашем калькуляторе http://gruppatt.ru/node/274

